2022-10-13 14:12:20 0
2022年8月,歐盟官方發布了新版的歐盟RoHS 2.0指令豁免清單(Exemptions list - validity and rolling plan),主要變動是依據此前已有的修訂指令對豁免條款進行了更新。市場所關注的豁免Pack22中的6(c)、7(a)和7(c)-I等條款官方暫時未做更新,仍為豁免延期申請狀態!
備注:豁免,是指電子產品中某些材料可以暫時不符合 RoHS 指令的限量要求,指令原文中規定了當某些材料中有害物質的去除或通過設計改變而使用替代物在技術上不現實時,或者替代物質對于環境、健康和/或消費者安全的負面影響大于上述物質對于環境、健康和/或消費者安全的負面影響時,電子電氣設備的這些材料和組件可背離指令限量要求。

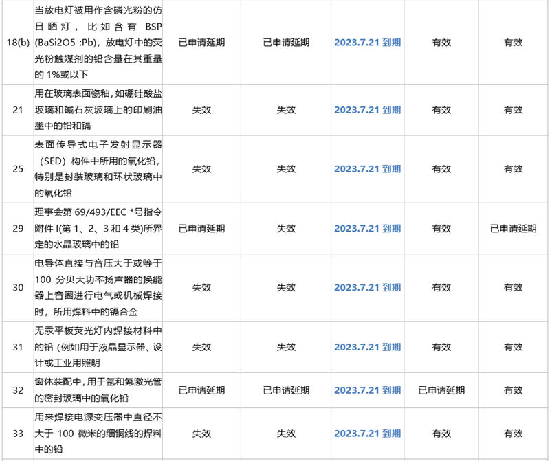
RoHS 2.0指令豁免清單分別列于2011/65/EU的附錄Ⅲ和Ⅳ中,其中附錄Ⅳ是專門針對醫療和監控設備應用的豁免,附錄Ⅲ則是針對所有電子電氣設備應用的豁免,BST中檢檢測為大家詳列了即將在2023年到期且沒有豁免延期申請的豁免條款,建議使用到如下條款的企業及時對材料進行調整,以符合RoHS指令有害物質限量要求(如需完整版RoHS 2.0指令豁免清單可與您的BST服務窗口聯系,或通過公眾號回復“豁免清單”獲取各地服務窗口聯系方式):
附件Ⅲ(2023年到期且沒有豁免延期申請的條款)




附件Ⅳ(2023年到期且沒有豁免延期申請的條款)


BST倍通檢測建議
RoHS 豁免條款的更新對電子電氣相關行業有較大影響,特別是部分被企業頻繁使用的豁免條款的延期與否,可能直接影響企業的生產制程及經營活動。建議電子電氣產品制造型企業持續關注RoHS豁免條款的更新進展,及時獲取RoHS豁免相關的最新消息,開展供應鏈調查,以便豁免發生更新時能夠及時應對。